联通
- 通常购买服务器时,大部分联通用户所能接触到的联通网络分为普通民用网(AS4837)和A网(AS9929)
- 回国与出国大多会经过 北京/上海/广州 回国
- 出口宽带等级分为 AS4837/AS9929(A网)
- 网络分为 双向/单向/混合线路(BGP)
- 在高峰期会有策略性丢包减少对骨干网的负载
- 出口宽带总量第二
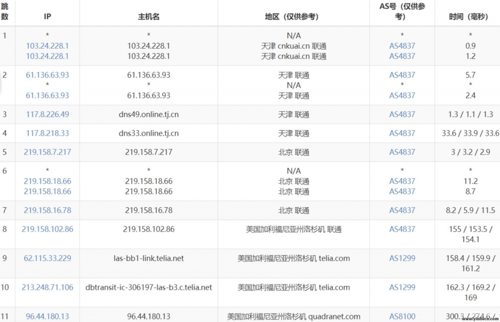
联通路由图示图(资料来源:https://bgp.he.net/AS4837)
IPV4


普通民用网(AS4837)
- AS4837,顾名思义,其通常会经过AS号为4837的路由节点(219.158.*.*),如果你在 ipip.net 中进行测试,通常会得到以下结果(注意,结果并不绝对)
- 省级-出国-国际骨干节点多以 219.158.*.* 开头,全程没有以 218.105.*.*/210.51.*.* 开头的9929路由节点
- 在出国线路上表现为非高峰期轻度负载,堵塞程度较低,速度适中,丢包率可以接受(<1%,不同地域不同服务商情况不同,仅作参考)。在下午6点至夜间11点之间的高峰期表现为负载较高,丢包率适中(>3%,不同地域不同服务商情况不同,仅作参考)。
- 经过的路由点较多

A网(AS9929,又名A网)
- AS9929,顾名思义,其通常会经过AS号为9929的路由节点(218.105.*.*/210.51.*.*),如果你在 ipip.net 中进行测试,通常会得到以下结果(注意,结果并不绝对)
- 省级-出国-国际骨干节点多以 218.105.*.* 开头,全程混有部分或少量219.158.*.*开头的AS4837路由节点
- 在出国线路上表现为非高峰期轻度负载,堵塞程度较低,速度快,丢包率较低(<1%,不同地域不同服务商情况不同,仅作参考)。在下午6点至夜间11点之间的高峰期表现为负载适中,丢包率低(<3%,不同地域不同服务商情况不同,仅作参考)。
- 经过的路由点较少
- PS:其实就是以前联通遗留下来的骨干网,只不过因为用的人很少,所以负载低,速度快,和CN2比不了,如果使用人数变多,原形毕露!
由于没有合适的海外服务器地址进行路由探测,此处使用国内服务器地址

原创文章,作者:全球主机资源网,如若转载,请注明出处:http://jokerman.net/477.html